Версия для слабовидящих
Общие сведения о чертежах
Чертежи, схемы и другие конструкторские документы выполняют по единым правилам и нормам, установленным государственными стандартами – ГОСТами. Государственные стандарты сведены в единую систему конструкторской документации (ЕСКД).
Единая система конструкторской документации (ЕСКД) – комплекс государственных стандартов, устанавливающий взаимосвязанные правила и положения по разработке, оформлению и обращению конструкторской документации, разрабатываемой и применяемой организациями, предприятиями и учебными заведениями. ЕСКД учитывает рекомендации Международной организации по стандартизации (ИСО), постоянной комиссии по стандартизации.
Форматы
Основная надпись чертежа. Чертежи и другие конструкторские документы промышленности и строительства выполняют на листах определенных размеров.
Каждый чертеж должен иметь рамку, которая ограничивает его поле (рис. 1). Линии рамки — сплошные толстые основные. Их проводят сверху, справа и снизу на расстоянии 5 мм от внешней рамки, выполняемой сплошной тонкой линией, по которой обрезают листы. С левой стороны — на расстоянии 20 мм от нее. Эту полоску оставляют для подшивки чертежей.

Рис. 1. Оформление листа формата А4
На чертежах в правом нижнем углу располагают основную надпись (см. рис. 1). Форму, размеры и содержание ее устанавливает стандарт.
Линии
При выполнении чертежей применяют линии различной толщины и начертания. Каждая из них имеет свое назначение.
На рисунке 2 дано изображение детали, называемой валиком. Как видите, чертеж детали содержит разные линии. Для того чтобы изображение было всем понятно, государственный стандарт устанавливает начертание линий и указывает их основное назначение для всех чертежей промышленности и строительства.

Рис. 2. Линии чертежа
Штрихпунктирную тонкую линию используют и для указания осей вращения (рис. 2), центра дуг окружностей (центровые линии, рис. 3). При этом положение центра должно определяться пересечением штрихов, как на рисунке 3.

Рис. 3. Проведение центровых линий
В заключение следует отметить, что толщина линий одного и того же типа должна быть одинакова для всех изображений на данном чертеже.
Размеры
Для определения величины изображенного изделия или какой-либо его части указываются размеры. Размеры разделяют на линейные и угловые. Линейные размеры характеризуют длину, ширину, толщину, высоту, диаметр или радиус измеряемой части изделия. Угловой размер характеризует величину угла.
Линейные размеры на чертежах указывают в миллиметрах, но обозначение единицы измерения не наносят. Угловые размеры указывают в градусах, минутах и секундах с обозначением единицы измерения.
Общее количество размеров на чертеже должно быть наименьшим, но достаточным для изготовления и контроля изделия.
Правила нанесения размеров установлены стандартом.
1. Размеры на чертежах указывают размерными числами и размерными линиями. Для этого сначала проводят выносные линии перпендикулярно отрезку, размер которого указывают (рис. 4, а). Затем на расстоянии не менее 10 мм от контура детали проводят параллельную ему размерную линию. Размерная линия ограничивается с двух сторон стрелками. Какой должна быть стрелка, показано на рисунке 4, б. Выносные линии выходят за концы стрелок размерной линии на 1...5 мм. Выносные и размерные линии проводят сплошной тонкой линией. Над размерной линией, ближе к ее середине, наносят размерное число.

Рис. 4. Нанесение линейных размеров
2. Если на чертеже несколько размерных линий, параллельных друг другу, то ближе к изображению наносят меньший размер. Так, на рисунке 4, в сначала нанесен размер 5, а затем 26, чтобы выносные и размерные линии на чертеже не пересекались. Расстояние между параллельными размерными линиями должно быть не менее 7 мм.
3. Для обозначения диаметра перед размерным числом наносят специальный знак — кружок, перечеркнутый линией (рис. 5). Если размерное число внутри окружности не помещается, его выносят за пределы окружности, как показано на рисунке 5, в и г. Аналогично поступают при нанесении размера прямолинейного отрезка (см. рис. 4, в).

Рис. 5. Нанесение размера окружностей
4. Для обозначения радиуса перед размерным числом пишут прописную латинскую букву R (рис. 6, а). Размерную линию для указания радиуса проводят, как правило, из центра дуги и оканчивают стрелкой с одной стороны, упирающейся в точку дуги окружности.

Рис. 6. Нанесение размеров дуг и угла
5. При указании размера угла размерную линию проводят в виде дуги окружности с центром в вершине угла (рис. 6, б).
6. Перед размерным числом, указывающим сторону квадратного элемента, наносят знак "квадрата" (рис. 7). При этом высота знака равна высоте цифр.

Рис. 7. Нанесение размера квадрата
7. Если размерная линия расположена вертикально или наклонно, то размерные числа располагают, как показано на рисунках 4, в; 5; 6.
8. Если деталь имеет несколько одинаковых элементов, то на чертеже рекомендуется наносить размер лишь одного из них с указанием количества. Например, запись на чертеже «3 отв. 10» означает, что в детали имеются три одинаковых отверстия диаметром 10 мм.
9. При изображении плоских деталей в одной проекции толщина детали указывается, как показано на рисунке 4, в. Обратите внимание, что перед размерным числом, указывающим толщину детали, стоит латинская строчная буква 5.
10. Допускается подобным образом указывать и длину детали (рис. 8), но перед размерным числом в этом случае пишут латинскую букву l.

Рис. 8. Нанесение размера длины детали
Масштаб
В практике приходится выполнять изображения очень крупных деталей. Изображения крупных деталей могут не поместиться на листах стандартного формата. Мелкие детали, которые еле заметны невооруженным глазом, невозможно вычертить в натуральную величину имеющимися чертежными инструментами. Поэтому при вычерчивании больших деталей их изображение уменьшают, а малых увеличивают по сравнению с действительными размерами.
Масштаб — это отношение линейных размеров изображения предмета к действительным. Масштабы изображений и их обозначение на чертежах устанавливает стандарт.
Масштаб уменьшения—1:2; 1:2,5; 1:4; 1:5; 1:10 и др.
Натуральная величина—1:1.
Масштаб увеличения—2:1; 2,5:1; 4:1; 5:1; 10:1 и др.
Наиболее желателен масштаб 1:1. В этом случае при выполнении изображения не нужно пересчитывать размеры.
Масштабы записывают так: M1:1; M1:2; M5:1 и т. д. Если масштаб указывают на чертеже в специально предназначенной для этого графе основной надписи, то перед обозначением масштаба букву М не пишут.
Следует помнить, что, в каком бы масштабе ни выполнялось изображение, размеры на чертеже наносят действительные, т. е. те, которые должна иметь деталь в натуре.
Прямоугольное проецирование.
Изготовление деталей и сборка изделий производятся по чертежам. По чертежам определяется форма и размеры детали, из какого материала её нужно изготовить, с какой шероховатостью и точностью необходимо обрабатывать её поверхности, узнаём данные о термической обработке, антикоррозионном покрытии и прочее.
Чертёж содержит изображения (проекции), которые в зависимости от их содержания делятся на виды, разрезы сечения, и сведения, необходимые для изготовления изделий.
Изображения предметов на чертежах получают проецированием.
Проецирование - это процесс получения изображения предмета на какой-либо поверхности. Получившееся при этом изображение называют проекцией предмета.
Элементы проецирования (рис. 9):
Различают центральное и параллельное проецирование. При центральном проецировании все проецирующие лучи исходят из одной точки - центра проецирования, находящегося на определённом расстоянии от плоскости проекций. На рис, 9а за центр проецирования условно взята электрическая лампочка. Исходящие от неё световые лучи, которые условно приняты за проецирующие, образуют на полу тень, аналогичную центральной проекции предмета.
Метод центрального проецирования используется при построении перспективы. Перспектива даёт возможность изображать предметы такими, какими они представляются нам в природе при рассмотрении их с определённой точки наблюдения.
В машиностроительных чертежах центральные проекции не применяются. Ими пользуются в строительном черчении и в рисовании.
При параллельном проецировании все проецирующие лучи параллельны между собой. На рис.9б показано, как получается параллельная косоугольная проекция. Центр проецирования предполагается условно удалённым в бесконечность. Тогда параллельные лучи отбросят на плоскость проекций тень, которую можно принять за параллельную проекцию изображаемого предмета.
В черчении пользуются параллельными проекциями. Выполнять их проще, чем центральные.
Если проецирующие лучи составляют с плоскостью проекций примой угол, то такие параллельные проекции называются прямоугольными.
Прямоугольные проекции называют также ортогональными. Чертежи в системе прямоугольных проекций дают достаточно полные сведения о форме и размерах предмета, так как предмет изображается с нескольких сторон. Поэтому в производственной практике пользуются чертежами, содержащими одно, два, три или более изображений предмета, полученных в результате прямоугольного проецирования.

Виды, сечения, разрезы
Виды
Вид – изображение обращенной к наблюдателю видимой части поверхности предмета. Для уменьшения количества изображений допускается на видах показывать необходимые невидимые части поверхности при помощи штриховых линий. Виды разделяются на основные, местные и дополнительные.

Рис. 1. Основные виды.
Основные виды. В качестве основных плоскостей проекций принимают грани пустотелого куба, в который мысленно помещают предмет и проецируют его на внутренние грани поверхности. Устанавливаются следующие названия видов, получаемых на основных плоскостях проекций (рис. 1).
1 – вид спереди (главный вид);
2 – вид сверху;
3 – вид слева;
4 – вид справа;
5 – вид снизу;
6 – вид сзади.
Изображение на фронтальной плоскости проекций принимается на чертеже в качестве главного. Предмет располагают относительно фронтальной плоскости проекций так, чтобы изображение на ней давало наиболее полное представление о форме и размерах предмета.
Вид спереди (главный вид) размещается на месте фронтальной проекции. Вид сверху размещается на месте горизонтальной проекции (под главным видом). Вид слева располагается на месте профильной проекции (справа от главного вида). Вид справа размещается слева от главного вида. Вид снизу находится над главным видом. Вид сзади размещается справа от вида слева.
Основные виды, так же как и проекции, располагаются в проекционной связи. Число видов на чертеже выбирают минимальным, но достаточным для того, чтобы точно представить форму изображенного объекта. На видах, при необходимости, допускается показывать невидимые части поверхности предмета с помощью штриховых линий (рис. 2).
Главный вид должен содержать наибольшую информацию о предмете. Поэтому деталь необходимо располагать по отношению к фронтальной плоскости проекций так, чтобы видимая поверхность ее могла быть спроецирована с наибольшим количеством элементов формы. Кроме этого, главный вид должен давать ясное представление об особенностях формы, показывая ее силуэт, изгибы поверхности, уступы, выемки, отверстия, что обеспечивает быстрое узнавание формы изображенного изделия.

Рис. 2. Использование штриховой линии на чертеже для изображения невидимых частей детали
Расстояние между видами на чертеже выбирают с таким расчетом, чтобы оставалось место для нанесения размеров.
Местный вид. Кроме основных видов, на чертежах используют местный вид — изображение отдельного, ограниченного места видимой поверхности детали.
Местный вид ограничивается линией обрыва (рис. 3). Если местный вид располагается в проекционной связи с одним из основных видов (рис. 3, а), то он не обозначается. Если местный вид расположен не в проекционной связи с одним из основных видов, то он обозначается стрелкой и буквой русского алфавита (рис. 3, б).
На местных видах можно проставлять размеры.

Рис. 3. Местные виды.
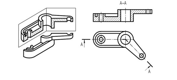
Дополнительные виды — изображения, получаемые на плоскостях, непараллельных основным плоскостям проекций. Дополнительные виды выполняются в тех случаях, если какую-либо часть предмета невозможно показать на основных видах без искажения формы и размеров. Дополнительный вид отмечается на чертеже надписью типа «А» (рис. 4, а), а у связанного с дополнительным видом изображения предмета ставится стрелка с соответствующим буквенным обозначением (рис. 4, а), указывающая направление взгляда.
Когда дополнительный вид расположен в непосредственной проекционной связи с соответствующим изображением, стрелку и надпись над видом не наносят (рис 4, б). Дополнительный вид можно повернуть, сохраняя при этом положение, принятое для данного предмета на главном изображении. При этом, к надписи «А» добавляется знак
(«Повернуто») (рис. 4, в).

Рис. 4. Дополнительные виды.
Разрезы
В зависимости от числа секущихся плоскостей, разрезы делятся на:
Положение секущей плоскости показывают на основном изображении толстой разомкнутой линией. Длина каждого штриха от 8 до 20 мм. Направление взгляда показывают стрелками, перпендикулярными штрихам. Стрелки изображают на расстоянии 2-3 мм от наружных концов штрихов. Имя секущей плоскости обозначается прописными буквами русского алфавита. Буквы наносят параллельно горизонтальным линиям основной надписи независимо от положения стрелок.
Если при выполнении простого разреза, находящегося в проекционной связи с основным изображением, секущая плоскость совпадает с плоскостью симметрии, то секущая плоскость не изображается, а разрез не подписывается.

Рис. 5. Обозначение разрезов на чертеже.

Рис. 6. Простой разрез.
В зависимости от положения секущей плоскости относительно горизонтальной плоскости проекций разрезы разделяются на:

Рис. 7. Горизонтальный разрез.

Рис. 8. Вертикальный фронтальный разрез (продольный).

Рис. 9. Вертикальный профильный разрез (поперечный).

Рис. 10. Наклонный разрез.
Сложные разрезы делятся на:

Рис. 11. Ступенчатый разрез.

Рис. 12. Ломанный разрез.
Разрезы бывают:
Разрезы, служащие для выяснения устройства предмета лишь в отдельных, ограниченных местах, называются местными.
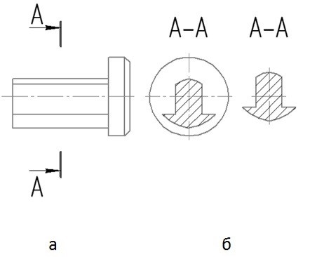
Сечения
Сечением называется изображение фигуры, получающейся при мысленном рассечении предмета секущей плоскостью (Рисунок 10).

Рис. 10. Сечение.
На сечении показывают только то, что попадает непосредственно в секущую плоскость.
Секущие плоскости выбирают так, чтобы получить нормальные поперечные сечения.
Сечения делятся на:

Рис. 11. Сечение.
Не входящие в состав разреза делятся на:
Вынесенные сечения являются предпочтительными и их допускается располагать в разрыве между частями одного и того же вида, на продолжении следа секущей плоскости при симметричной фигуре сечения, на любом месте поля чертежа, а также с поворотом.
Для изображения следа секущей плоскости на чертеже применяют толстую разомкнутую линию со стрелками, указывающими направление взгляда, и обозначают секущую плоскость прописными буквами русского алфавита. Сечение сопровождается надписью по типу А-А (рис. 10).
Соотношение размеров стрелок и штрихов разомкнутой линии должны соответствовать. Начальный и конечный штрихи не должны пересекать контур изображения.
Буквенные обозначения присваивают в алфавитном порядке без повторения и, как правило, без пропусков. Размер шрифта буквенных обозначений должен быть больше размера цифр размерных чисел приблизительно в два раза. Буквенное обозначение располагают параллельно основной надписи, независимо от положения секущей плоскости.
В общем случае, когда сечение располагается на любом свободном месте, на чертеже, положение следа секущей плоскости изображается, как указано выше, а изображение сечения сопровождается надписью, соответствующей имени секущей плоскости.
Для симметричных сечений след секущей плоскости не изображают и сечение надписью не сопровождают
Для несимметричных сечений, расположенных в разрыве, или наложенных, след секущей плоскости изображают, но буквами не сопровождают. Сечение также не сопровождают надписью.
Контур вынесенного сечения выполняется толстой сплошной линией (основной линией), а контур наложенного сечения — тонкой сплошной линией, при этом контур вида не прерывается.
Для нескольких одинаковых сечений одного и того же предмета линии сечения обозначают одной буквой и вычерчивают одно сечение. Если пpи этом секущие плоскости направлены под разными углами, то знак «Повернуто» не наносят.